工业移动登高平台,检修平台,工业梯台,跨线桥,飞机乌检修平台,工业踏步台,登高平台梯,工业扶梯等,根据行业内喜好叫的名字,大家可以理解成都是用来爬高使用的,做这些框架的立柱,横梁型材都很好选择,根据尺寸大小有很多型材可以用,就是框架上方的踏板一直用的定制型材。市场需求多了,于是就生产了踏板铝型材,下面就来给大家介绍一下踏板铝型材常规型号有哪些?
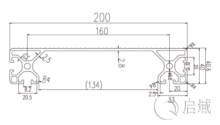
踏板铝型材是工业检修平台专用型材,常规型号有两种分别是:欧标40200型材和欧标40240型材,下图就是这两款型材的图纸和图样,大家可以看看。主要用于工业扶梯踏步走台系统的设计搭建。
大家在来看看这几张图,就是用这两款型材做的检修平台登高梯,就是用5050型材和50100型材搭配踏板铝型材进行连接而成。踏板铝型材表层防滑条纹设计可以起到防滑功能,它和其它常规型材也是一样的材质,用的6063-T5材质,也是经过阳极氧化处理的,具有较强的抗氧化能力。
以上是对踏板铝型材规格做了简单介绍,希望文中内容能帮得到大家。上海春水堂视频黄APP专业型材及配件,10余年的行业经验,合作企业5000+,定制框架案例丰富,可提案例参考,有专业技术人员团队,来图来样可按需定制工业检修平台。
踏板铝型材是工业检修平台专用型材,常规型号有两种分别是:欧标40200型材和欧标40240型材,下图就是这两款型材的图纸和图样,大家可以看看。主要用于工业扶梯踏步走台系统的设计搭建。
大家在来看看这几张图,就是用这两款型材做的检修平台登高梯,就是用5050型材和50100型材搭配踏板铝型材进行连接而成。踏板铝型材表层防滑条纹设计可以起到防滑功能,它和其它常规型材也是一样的材质,用的6063-T5材质,也是经过阳极氧化处理的,具有较强的抗氧化能力。
以上是对踏板铝型材规格做了简单介绍,希望文中内容能帮得到大家。上海春水堂视频黄APP专业型材及配件,10余年的行业经验,合作企业5000+,定制框架案例丰富,可提案例参考,有专业技术人员团队,来图来样可按需定制工业检修平台。




沪公网安备31011702001213号
扫一扫,关注手机站